產品簡介
FP型工程塑料泵系列產品均采用機械密封,使用增強聚丙烯作為泵的材質,在同系列的工程塑料泵產品中,充分顯示了其結構優質、重量輕、體積小、壽命長等特點,廣泛應用于化工,食品、制藥、電鍍、造紙、環保、水處理等部門,輸送酸、堿、鹽等腐蝕性液體。其中104型采用220V電壓,可供家庭選用。
型號意義
型號 |
口徑 |
流量 m3/h |
揚程 m |
吸程 |
轉速 r/min |
電壓 v |
電機 功率 kw |
進口 |
出口 |
FP20-15-60 (106) |
20 |
15 |
1 |
5 |
3 |
2900 |
380 |
0.12 |
FP20-20-90 (105) |
20 |
20 |
3 |
6 |
3 |
380 |
0.37 |
FP32-25-100 (104) |
32 |
25 |
5 |
7 |
6 |
220 |
0.55 |
FP32-25-105 (103) |
32 |
25 |
6.3 |
8 |
6 |
380 |
0.75 |
FP32-25-110 |
32 |
25 |
8 |
14 |
6 |
380 |
1.1 |
FP40-32-125 (102) |
40 |
32 |
12.5 |
20 |
6 |
380 |
1.5 |
FP50-40-145 |
50 |
40 |
13 |
22 |
6 |
380 |
2.2 |
FP65-50-150 (101) |
65 |
50 |
25 |
25 |
6 |
380 |
4 |
50FP-22 |
50 |
40 |
13 |
22 |
6 |
380 |
2.2 |
65FP-25 |
65 |
50 |
20 |
25 |
6 |
380 |
4 |
80FP-28 |
80 |
65 |
50 |
28 |
4 |
380 |
5.5 |
80FP-32 |
80 |
65 |
50 |
32 |
4 |
380 |
7.5 |
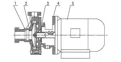
結構圖紙
1、泵殼 2、葉輪-軸總成 3、機械密封 4、泵蓋 5、電機
安裝尺寸本數據僅供參考,請以實際訂貨為準!
尺寸 型號 |
A |
B |
C |
D |
E |
F |
G |
FP20-15-60 |
310 |
190 |
20 |
15 |
90 |
70 |
100 |
FP20-20-90 |
355 |
200 |
20 |
20 |
110 |
100 |
105 |
FP32-25-100 |
370 |
198 |
32 |
25 |
125 |
100 |
110 |
FP32-25-105 |
370 |
198 |
32 |
25 |
125 |
100 |
110 |
FP32-25-110 |
450 |
235 |
32 |
25 |
125 |
100 |
110 |
FP40-32-125 |
470 |
235 |
40 |
32 |
140 |
100 |
125 |
FP50-40-145 |
550 |
290 |
50 |
40 |
140 |
100 |
125 |
FP65-50-150 |
610 |
340 |
65 |
50 |
190 |
100 |
145 |
- 1、塑料泵應水平安裝,泵體不得承受管路重量,對于特殊要求垂直安裝的場合,電機務必朝上。
- 2、泵在使用前泵體內先加水。當抽吸液面高于軸心線時,啟動前打開吸入管道閥門即可,若抽吸液面低于泵軸心線時,管道需配底閥。
- 3、電機啟動前,應檢查其旋轉方向是否與泵轉向標記一致。
- 4、被輸送介質及溫度應在泵材質允許的范圍之內(見附表)。離心泵使用溫度FP≤80℃、FS≤60℃電機溫升不得超過80℃,環境溫度<40℃。
- 5、禁止空載運行。
注意事項
塑料泵材質的耐腐蝕性能
介質 |
濃度 |
CFR-PP |
介質 |
濃度 |
ABS |
25℃ |
65℃ |
90℃ |
20℃ |
60℃ |
80℃ |
硫酸H2SO4 |
98% |
√ |
√ |
○ |
硫酸H2SO4 |
<30% |
√ |
× |
|
70% |
√ |
√ |
√ |
30-70% |
○ |
× |
|
1-50% |
√ |
√ |
√ |
>75% |
× |
× |
|
硝酸HNO3 |
濃 |
√ |
√ |
○ |
硝酸HNO3 |
10% |
√ |
○ |
|
20% |
√ |
√ |
√ |
20% |
√ |
|
|
10% |
√ |
√ |
√ |
25-35% |
○ |
|
|
|
|
√ |
|
>50% |
× |
× |
|
鹽酸HCL |
0-30% |
√ |
○ |
× |
鹽酸HCL |
<30% |
√ |
× |
|
氫氟酸 |
|
√ |
○ |
× |
氫氟酸 |
<10% |
√ |
× |
|
40-48% |
√ |
× |
|
醋酸 |
1-50% |
√ |
√ |
√ |
醋酸 |
<20% |
√ |
○ |
|
磷酸 |
各種濃度 |
√ |
√ |
√ |
>30% |
× |
× |
|
氫氧化鈉 |
|
√ |
√ |
√ |
氫氧化鈉 |
|
√ |
√ |
√ |
氯化鈉 |
|
√ |
√ |
√ |
氯化鈉 |
|
√ |
√ |
× |
氯化鐵 |
|
√ |
√ |
|
乙醇 |
|
√ |
√ |
√ |
乙醇 |
|
√ |
√ |
|
漂白液 |
|
√ |
√ |
√ |
漂白液 |
|
○ |
○ |
× |
說明:√——良好; ○——可用、但有腐蝕; ×——不可用、腐蝕嚴重
故障排除
故障形式 |
產生原因 |
排除方法 |
泵不出液 |
- 泵反轉
- 進液管道漏氣
- 泵腔蓄液太少
- 吸程太高
- 底閥漏水
- 葉輪受阻不轉
|
- 改變電機接線
- 杜絕漏氣
- 增加蓄液量
- 降低泵安裝位置
- 清理底閥
- 清洗泵殼、葉輪
|
流量不足 |
- 吸入管徑太小
- 葉輪流道阻塞
- 揚程過高
- 吸入管路有空氣漏進
- 葉輪損壞
|
- 調換進液器
- 清洗葉輪
- 開大出液閥
- 杜絕漏氣
- 更換葉輪
|
揚程過低 |
- 流量過太
- 轉速太低
|
- 關小出水閥
- 恢復額定轉速
|
噪音過低 |
- 泵內有雜物
- 轉動件與固定件碰擦
- 軸嚴重磨損
|
- 檢查清理
- 調整間隙
- 更換泵軸
|
漏液 |
- 泵殼固定螺釘松動
- 機械密封嚴重磨損
|
- 擰緊螺釘
- 更換機械密封
|